

Машины и механизмы в ландшафтном строительстве
Авторы: Козьмин С. Ф.
Издательство: ЛАНЬ
Издание: 2-е изд., стер.
ISBN 978-5-507-46003-8; 2023 г.
Кол-во страниц: 96
О книге:
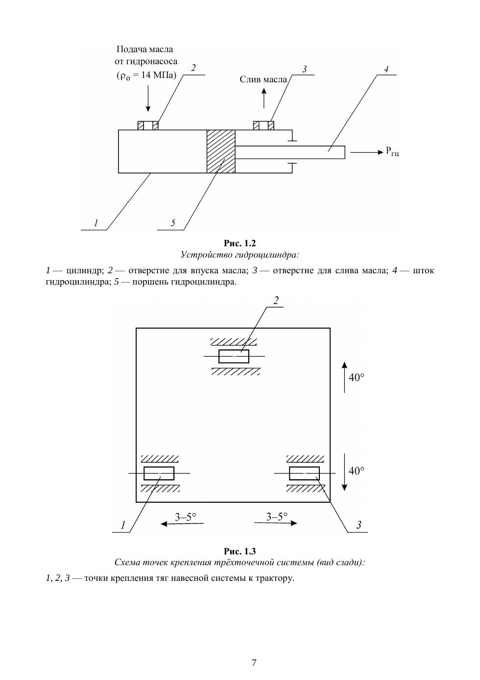
В учебном пособии изложены вопросы применения машин и механизмов для комплексной механизации работ в ландшафтном строительстве. Приводятся технологии работ в питомниках, при создании садов, скверов, парков и на рубках ухода в крупных парках. Рассматриваются вопросы применения машин и механизмов для ухода за газонами. Приводится методика расчета тягового сопротивления при движении машин и агрегатирования их с тракторами различного класса тяги. Рассматриваются вопросы исследования параметров машин и механизмов, применяемых в ландшафтном строительстве. Приводятся основные характеристики машин и механизмов, расчёт сменной производительности машинно-тракторных агрегатов, исследование проходимости колёсных тракторов, а также технические характеристики серийных колёсных и гусеничных тракторов. Учебное пособие предназначено для выполнения практических занятий студентами всех видов обучения направления подготовки «Ландшафтная архитектура».