

Уголовно-исполнительное право
Авторы: Смирнов Л. Б.
Издательство: ЛАНЬ
Издание: 2-е изд., стер.
ISBN 978-5-507-47670-1; 2024 г.
Кол-во страниц: 408
О книге:
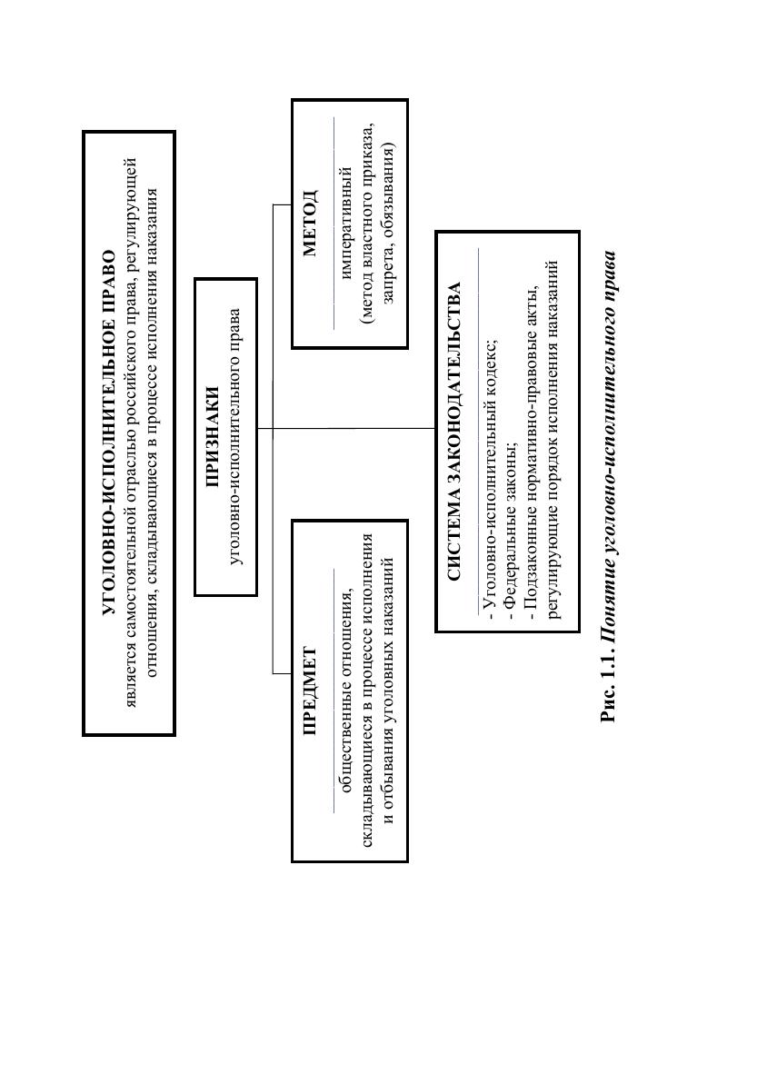
Учебник состоит из трех частей. В Общей части рассматриваются теория, история, общие положения уголовно-исполнительного права, основы правового положения осужденных, система учреждений и органов, исполняющих уголовные наказания и контроль за ними. В Особенной части изложено: правовое регулирование порядка и условий исполнения уголовных наказаний, регулирование и применение мер исправительного и воспитательного воздействия на осужденных, статусы и условия содержания осужденных содержащихся в исправительных учреждениях, вопросы освобождения от отбывания наказания. Специальная часть посвящена международным аспектам исполнения уголовных наказаний. Соответствует современным требованиям Федерального государственного образовательного стандарта среднего профессионального образования и профессиональным квалификационным требованиям. Учебник предназначен для студентов колледжей, обучающихся по укрупненной группе специальностей «Юриспруденция».