

Технологические и экономические расчёты в нефтепереработке
Технологические и экономические расчёты в нефтепереработке
Авторы: Савченков А. Л., Важенина Л. В.
Издательство: Тюменский индустриальный университет (бывший Тюменский государственный нефтегазовый университет)
ISBN 978-5-9961-2437-4; 2020 г.
Кол-во страниц: 113
О книге:
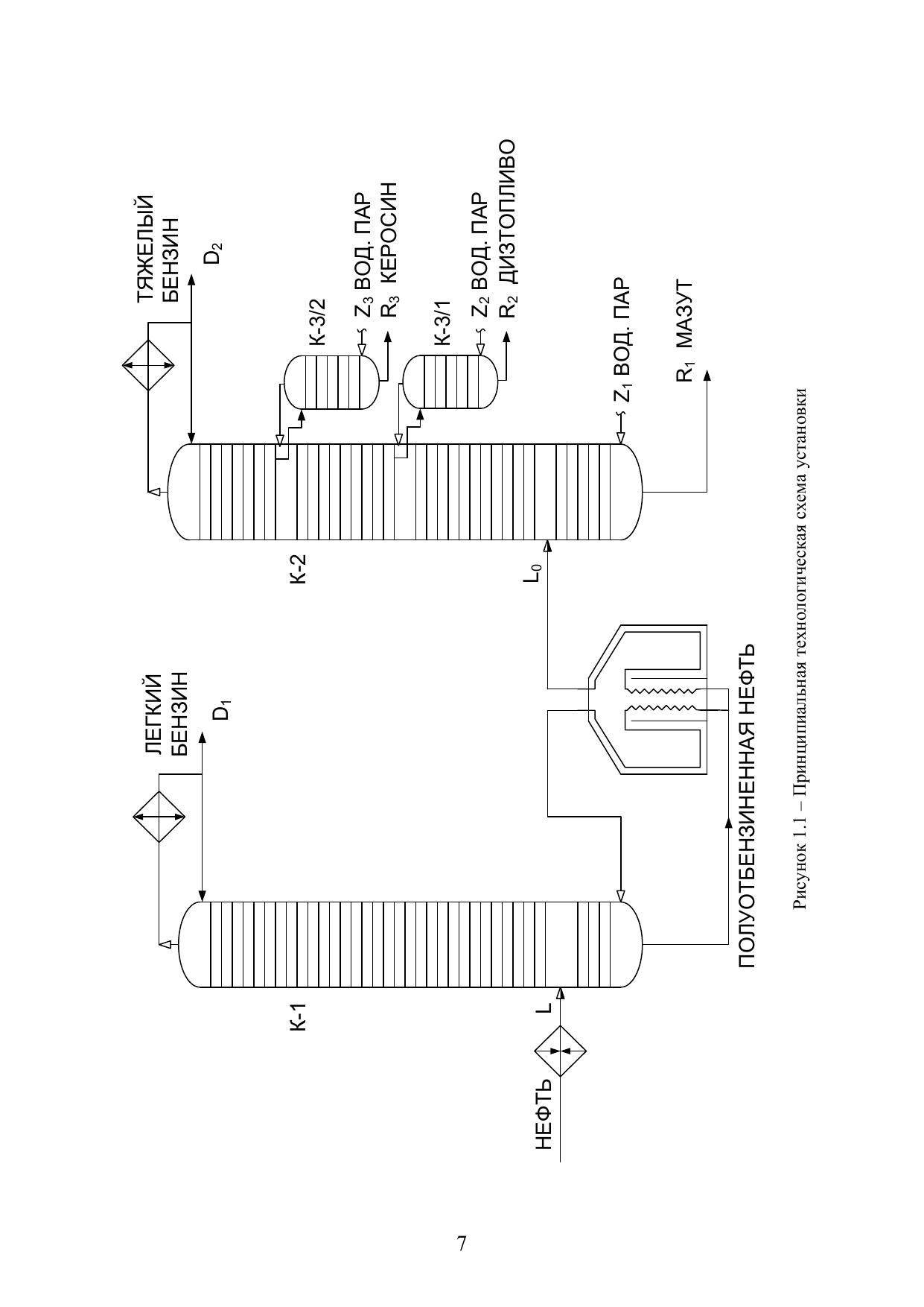
В учебном пособии изложена методика расчёта процесса атмосферной перегонки нефти. Приведён порядок расчёта материального и теплового баланс, температурного режима, доли отгона сырья, температур вывода боковых дистиллятов, размеров основной колонны и стриппинг-секций. В экономической части пособия приведён пример сравнительной оценки экономической эффективности модернизации установки производства высокооктанового бензина. Рассмотрена также экономическая оценка инвестиций на предприятиях нефтепереработки. Пособие предназначено обучающимся по направлениям 18.03.01 Химическая технология, 18.04.01 Химическая технология, 18.03.02 Энерго- и ресурсосберегающие процессы в химической технологии, нефтехимии и биотехнологии для курсового проектирования и выполнения выпускной квалификационной работы.