

Лабораторный практикум по дисциплине "Схемотехника"
Авторы: Наумкина Л.Г.
Издательство: Горная книга
2004 г.
Кол-во страниц: 143
Гриф: Допущено Учебно-методической комиссией по специальности «Управление и информатика в технических системах» в качестве методических указаний для студентов МГГУ, обучающихся по специальности 210100 «Управлеие и информатика в технических системах».
О книге:
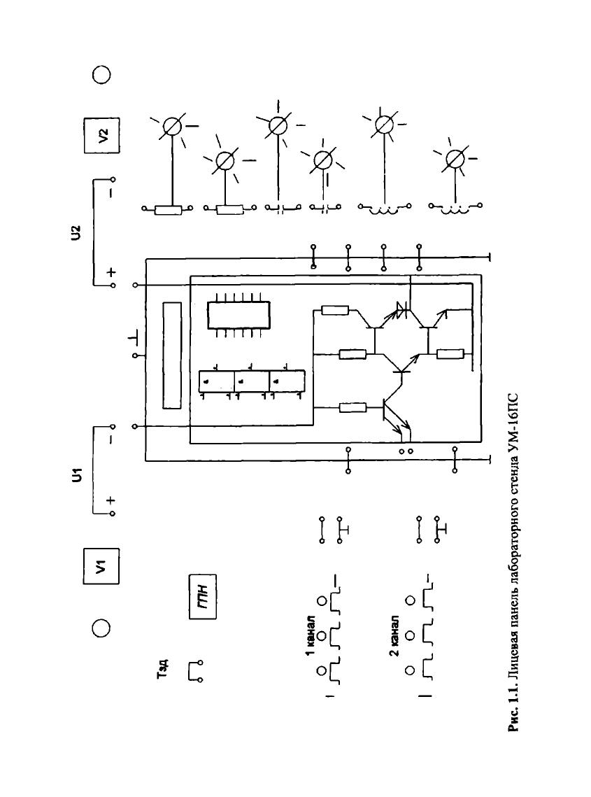
Практикум позволяет студентам на лабораторных стендах изучить аппаратные средства малой и средней степени интеграции в процессе создания цифровых схем со сложными функциональными возможностями. Для студентов МГГУ, обучающихся по специальности 210100 «Управление и информатика в технических системах».