

Материаловедение в санитарно-технических системах
Авторы: Широкий Г.Т., Юхневский П.И., Бортницкая М.Г.
Издательство: Вышэйшая школа
ISBN 978-985-06-1683-8; 2009 г.
Кол-во страниц: 302
Гриф: Допущено Министерством образования Республики Беларусь в качестве учебного пособия
О книге:
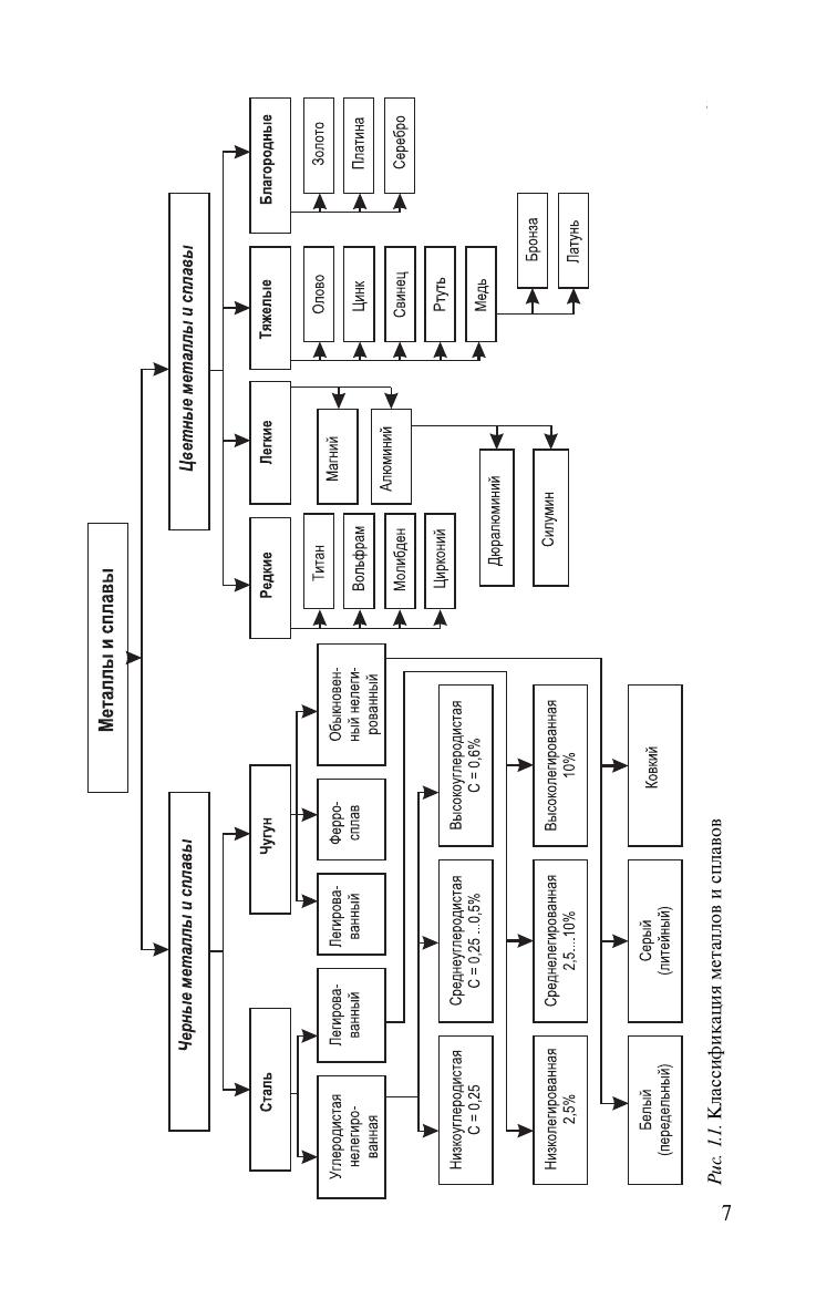
С учетом современного уровня развития науки и техники в обрасти материаловедения рассмотрены санитарно-технические материалы и сопутствующие им изделия. Особое внимание уделено материалам и изделиям из черных и цветных металлов, полимерам и пластмассам, вопросам тепло- и гидроизоляции и др. Дается информация о зарубежном опыте, экологических аспектах производства и применения сантехнических материалов и изделий. Учебный материал представлен по схеме: сырье – технология получения материала – основные свойства – области применения. Для учащихся специальности «Санитарно-технические работы» ПТУ. Может быть использовано учащимися строительных специальностей ССУЗов, студентами вузов, специалистами строительной отрасли.