 
        
        
        
        
     
	Контроль и диагностика тепломеханического оборудования ТЭС и АЭС. Лабораторный практикум
				                            Авторы: Герасимова А.Г.
                                                            Издательство: Вышэйшая школа
            
                                  ISBN 978-985-06-2296-9; 2013 г.
                    Кол-во страниц: 222
                            Гриф: Допущено Министерством образования Республики Беларусь в качестве учебного пособия
        
	
О книге:
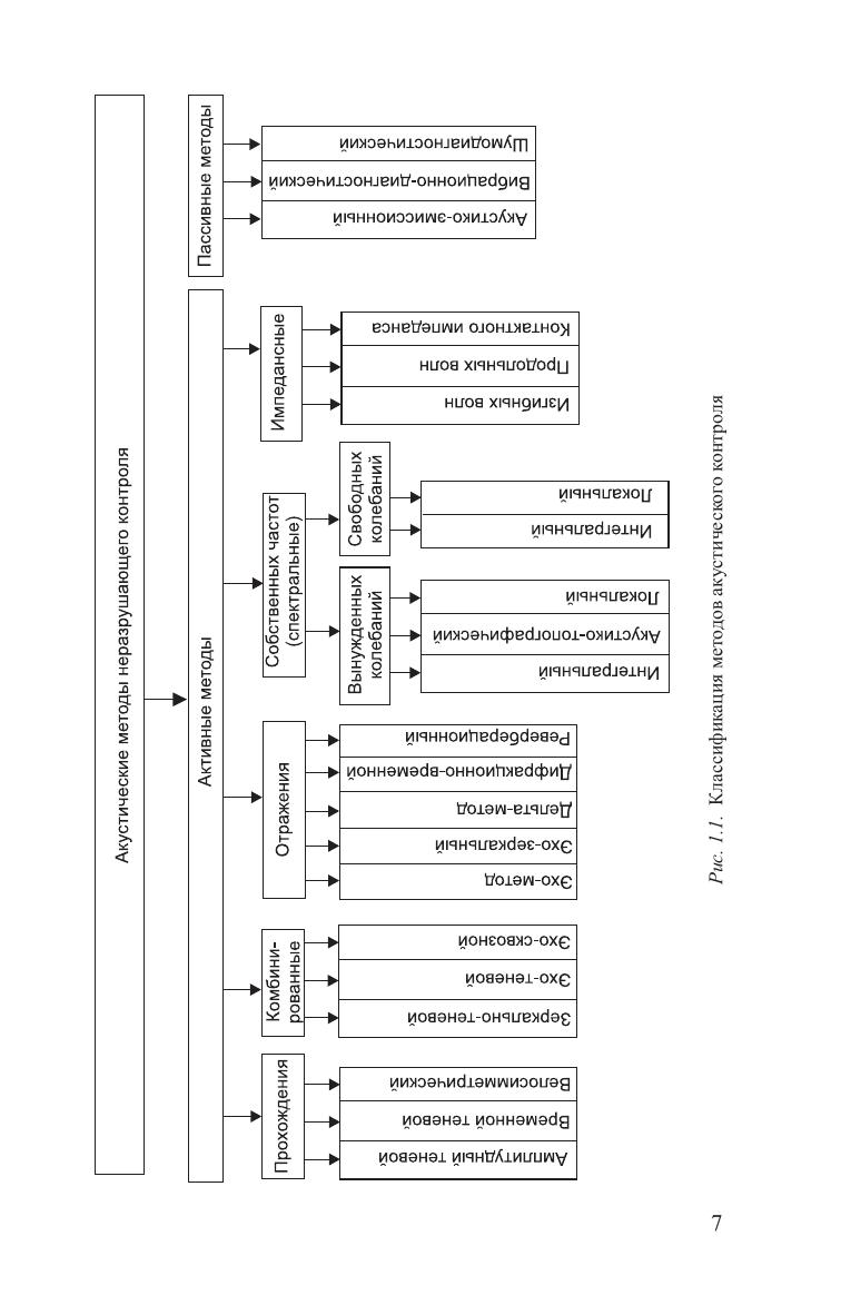
Содержит указания к проведению лабораторных работ по дисциплинам "Диагностика тепломеханического оборудования АЭС", "Контроль и диагностика тепломеханического оборудования ТЭС". Приведены общие теоретические сведения о неразрушающих методах контроля и основах вибродиагностики, рассмотрены методики и средства проведения контроля, приведены инструкции по эксплуатации и настройке приборов. Для студентов вузов, обучающихся по специальностям "Паротурбинные установки атомных электрических станций", "Тепловые электрические станции" и автоматизация и управление теплоэнергетическими процессами".