

Электронные средства измерений электрических величин: учеб. пособие
Авторы: Волегов А.С, Незнахин Д.С, Степанова Е.А.
Издательство: Уральский федеральный университет
ISBN 978-5-7996-1330-3; 2014 г.
Кол-во страниц: 104
О книге:
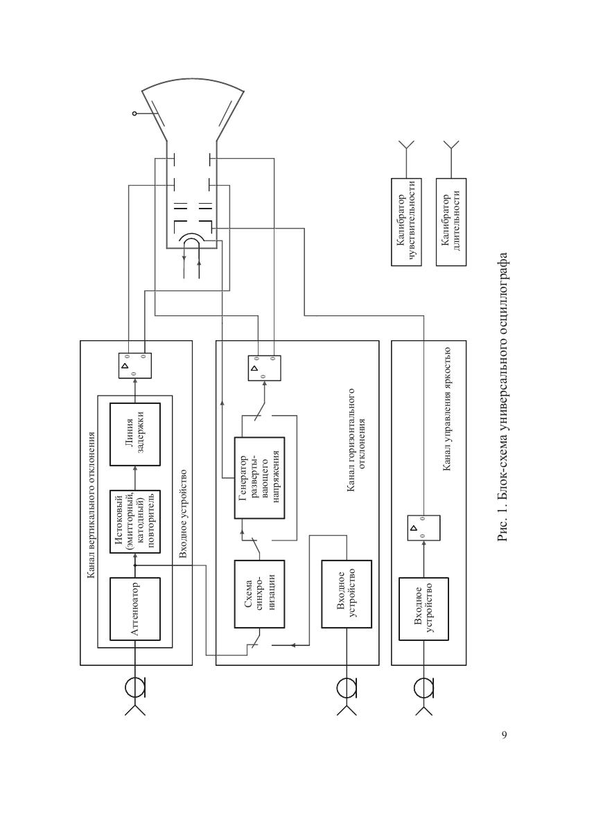
Учебное пособие содержит сведения об электронных средствах измерений электрических величин, предназначенных для исследования формы электрических сигналов, измерения интервалов времени, фазовых сдвигов, частоты, напряжения. Рассматриваются наиболее распространенные методы измерения перечисленных характеристик. Приведены основные составляющие погрешности указанных средств измерений и источники их возникновения. Для студентов физических специальностей.