

Электроника: учебно-методическое пособие
Авторы: Дурнаков А.А., Елфимов В.И.
Издательство: Уральский федеральный университет
ISBN 978-5-7996-1787-5; 2016 г.
Кол-во страниц: 160
О книге:
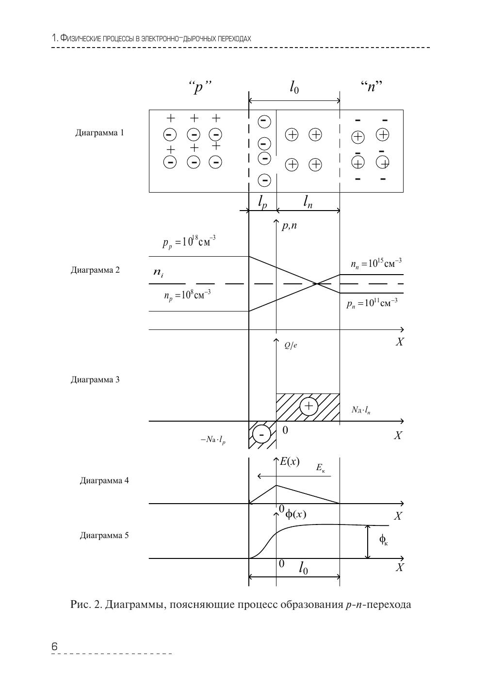
Пособие содержит описания физических процессов, возникающих в p‑n‑переходе, виды пробоев p‑n‑перехода, процессы в p‑n‑переходах с туннельным эффектом, устройство, принципы работы, характеристики и параметры биполярных транзисторов и полевых транзисторов с управляющим p‑n‑переходом. Приводятся описание схем экспериментальных исследований, лабораторные задания, методика обработки результатов эксперимента, вопросы для самопроверки.
Вверх