

Практические советы по ремонту бытовой радиоэлектронной аппаратуры. Книга 2
Авторы: Столовых А.М.
Издательство: СОЛОН-Пресс
ISBN 5-93455-151-5 ; 2008 г.
Кол-во страниц: 160
О книге:
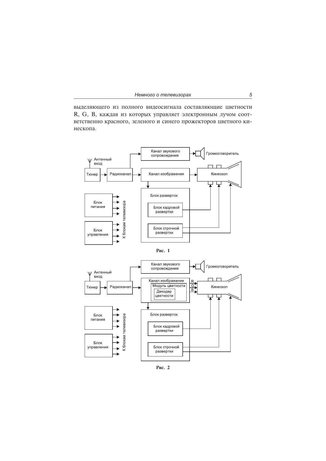
Книга предназначена для широкого круга читателей, профессионально занимающихся ремонтом бытовой электронной техники, она может быть полезна тем, кто хочет сам освоить ремонт аппаратуры, находящейся в домашнем пользовании, но не имеет достаточного опыта в этом деле.Автор делится своими секретами ремонта и маленькими хитростями, применяемыми многими мастерами в ремонтной практике.
Вверх