X
Расширенный поиск
Все разделы
Корзина
у вас нет товаров
Микросхемы для современных мониторов Тюнин Н.А.

Микросхемы для современных мониторов

Авторы:
Издательство: СОЛОН-Пресс
ISBN 5-98003-160-X ; 2009 г.
Кол-во страниц: 336

Положить в корзину

Предварительный просмотр:

О книге:

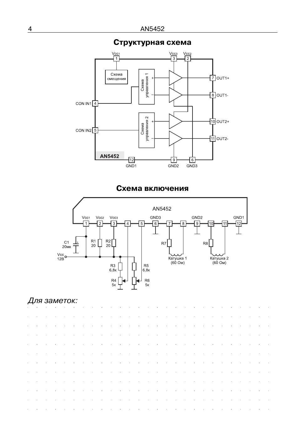
Книга является первым справочным пособием по микросхемам для современных LCD- и CRT-мониторов. В ней приведена исчерпывающая информация о 150 микросхемах ведущих производителей полупроводниковых компонентов для мониторов (Fairchild Semiconductor, Genesis Microchip, Matsushita Electric (Panasonic), Mitsubishi, Motorola, National Semiconductor, Philips, Samsung Semiconductor, Sanyo, Sanken, STMicroelectronics, Sony).Уникальная особенность справочника заключается в том, что для большинства микросхем приводятся не только основные функции, электрические характеристики, исполнение и назначение выводов, но и схемы включения. Последнее обстоятельство позволит специалисту-ремонтнику не тратить время и деньги на поиск принципиальной схемы монитора, а проанализировать и устранить неисправность, используя только материалы данной книги.Справочник адресован подготовленным радиолюбителям и специалистам сервисных служб.

Последние просмотренные
Вверх