

Инженерная компьютерная графика в nanoCAD и AutoCAD
Авторы: Федотов Г. В.
Издательство: ЛАНЬ
Издание: 2-е изд., стер.
ISBN 978-5-507-52184-5; 2025 г.
Кол-во страниц: 80
О книге:
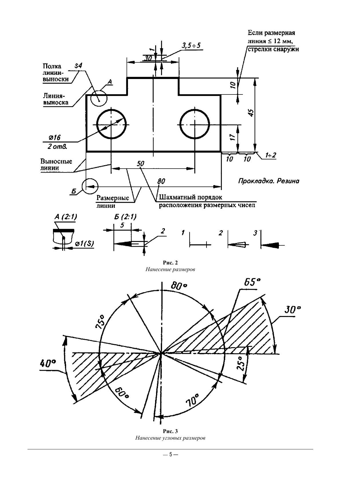
Курс «Инженерная графика» полностью переложен на компьютерное проектирование в nanoCAD (отечественное ПО) и AutoCAD. Изложены эффективные задания и подробные методические рекомендации для освоения дисциплины «Инженерная графика» средствами nanoCAD или AutoCAD. Студентам даются основные принципы и методы черчения и методологии разработки графических документов, а также формируются навыки использования универсальных графических систем для разработки и редактирования чертежей с использованием компьютерного моделирования, конструкторской документации и деловой графики. Предлагаются методы воспроизведения графических объектов графическими примитивами nanoCAD или AutoCAD, общие правила проекционного черчения, изучаются методы нанесения штриховки и размеров, построение изометрических изображений деталей и сложных объектов, а также схем водоснабжения и водоотведения. Также изучаются технологии создания сложных деталей с множественными сопряжениями, формирование графических блоков и их использование, приемы массового воспроизведения графических объектов по массиву, по окружности или по траектории, вставка в чертеж растровых изображений и отрисовка их средствами векторной графики. Приводятся основные ГОСТы для машиностроительного черчения, водоснабжения и водоотведения.